Στείλτε μας email
Προϊόντα
Ηλεκτρομαγνητική βαλβίδα 3V2 3 κατευθύνσεων
  • Ηλεκτρομαγνητική βαλβίδα 3V2 3 κατευθύνσεωνΗλεκτρομαγνητική βαλβίδα 3V2 3 κατευθύνσεων
  • Ηλεκτρομαγνητική βαλβίδα 3V2 3 κατευθύνσεωνΗλεκτρομαγνητική βαλβίδα 3V2 3 κατευθύνσεων

Ηλεκτρομαγνητική βαλβίδα 3V2 3 κατευθύνσεων

Ακολουθεί μια εισαγωγή στην ηλεκτρομαγνητική βαλβίδα 3V2 3V, η OLK ελπίζει να σας βοηθήσει να κατανοήσετε καλύτερα την ηλεκτρομαγνητική βαλβίδα 3V2. Καλωσορίζουμε νέους και παλιούς πελάτες για να συνεχίσουν να συνεργάζονται μαζί μας για να δημιουργήσουμε ένα καλύτερο μέλλον μαζί!

Η ηλεκτρομαγνητική βαλβίδα 3V2 είναι μικρή, ελαφριά και εύκολη στην εγκατάσταση. Το σώμα του είναι κατασκευασμένο από ισχυρό αλουμίνιο, το οποίο αντιστέκεται στη σκουριά και τις φθορές. Η βαλβίδα χρησιμοποιεί ένα αξιόπιστο πηνίο ηλεκτρομαγνητικής βαλβίδας με επιλογές για ισχύ DC12V, DC24V, AC110V ή AC220V.

Αυτή η ηλεκτρομαγνητική βαλβίδα 3V2 μάρκας OLK λειτουργεί καλά για έλεγχο αέρα μέσης ροής. Αλλάζει γρήγορα, καταναλώνει λίγη ισχύ και διαρκεί πολύ. Μπορεί να είναι κανονικά κλειστό (NC), κανονικά ανοιχτό (NO) ή διπλή ηλεκτρομαγνητική βαλβίδα. Χρησιμοποιείται συχνά σε γραμμές αυτοματισμού, μηχανές συσκευασίας, μηχανές εκτύπωσης και μηχανές τροφίμων. Το μικρό του μέγεθος το καθιστά ιδανικό για στενούς χώρους.

Ηλεκτρομαγνητική βαλβίδα 3V2 3 δρόμων Χαρακτηριστικό προϊόντων

3.Σχεδίαση ομοαξονικής διακοπής για καλή στεγανοποίηση και μεγάλη ροή.

2. Κανονικά κλειστοί (NC) και κανονικά ανοιχτοί (NO) τύποι διαθέσιμοι.

3.Σχεδίαση ομοαξονικής διακοπής για καλή στεγανοποίηση και μεγάλη ροή.

4.Δεν απαιτείται λίπανση.

5.Εξοπλισμένο με χειροκίνητη παράκαμψη για εύκολη εγκατάσταση και δοκιμή.

6.Πολλαπλές τυπικές επιλογές τάσης διαθέσιμες.

Σύμβολο βαλβίδας 3V2:

Κωδικός παραγγελίας

3V

2

-

08

NC

A

 

 

 

Μοντέλο

Κώδικας

 

 Μέγεθος θύρας

Τύπος υποκριτικής

Τυπική τάση

Ηλεκτρική είσοδος

Τύπος νήματος

 

3V: 2 θέση 3 κατευθύνσεων

Σειρά 2:2

 

06:G1/8

NC: κανονικά κλειστό

A: AC220V

Κενό: Ο τύπος ΣΑΣ

Κενό: Γ

 

 

 

 

08:G1/4

ΟΧΙ: κανονικά ανοιχτό

B:DC24V

I: Τύπος γραμμής

T:NPT

 

 

 

 

 

 

C: AC110V

 

 

 

 

 

 

 

 

E: AC24V

 

 

 

 

 

 

 

 

E: AC24V

 

 

 


Μοντέλο

3V206

3V208

Μέσο εργασίας

Αέρας (φιλτραρισμένος με φίλτρο 40 μm ή μεγαλύτερο)

Αέρας (φιλτραρισμένος με φίλτρο 40 μm ή μεγαλύτερο)

Τύπος υποκριτικής

Αμεση ενέργεια

Μέγεθος θύρας

G1/8

G1/4

Θέση & Τρόπος

2 Θέση 3 τρόπο

Αποτελεσματική Περιοχή

3,2 mm² (Cv = 0,18)

3,4 mm² (Cv = 0,19)

Λάδωμα

Δεν απαιτείται

Εύρος πίεσης λειτουργίας

0 ~ 0,8 MPa (0 ~ 114 psi)

Πίεση απόδειξης

1,5 MPa (215 psi)

Θερμοκρασία λειτουργίας (℃)

-20 ~ 70

Υλικό σώματος

Κράμα αργιλίου

 

Τυπική τάση

AC220V AC110 AC24V  DC24V  DC12V

Εύρος τάσης

AC:±15% DC:±10%

Κατανάλωση ρεύματος

AC:7VA DC:7,0W

Κατηγορία Προστασίας

IP65 (DIN40050)

Βαθμός μόνωσης

Β Επίπεδο

Τύπος σύνδεσης

Τύπος βύσματος/Τύπος γραμμής DIN

Ελάχ. Ώρα Διέγερσης

0,05 Δευτ


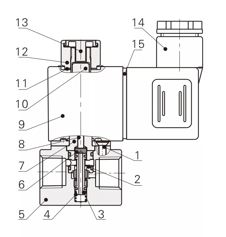
Οχι.

Ονομα

1

Αντιβυθισμένη βίδα

2

Διαχωριστικό μανίκι

3

Συναρμολόγηση πυρήνα

4

Ανοιξη

5

Σώμα

6

Τσιμούχα

7

Συναρμολόγηση ηλεκτρομαγνητικής βαλβίδας

8

Ράβδος εμβόλου

9

Σπείρα

10

Κινούμενος πυρήνας σιδήρου

11

Σταθερό πλυντήριο

12

Σταθερό παξιμάδι

13

Κουμπί χειροκίνητου

14

Τερματικό

15

Φλάντζα ακροδεκτών


Είδος

3V1-M5/3V1-06

2V025-06/2V025-08

3V2-06/3V2-08

3V3-08

Μέσο εργασίας

Αέρας

Αέρας, Νερό, Λάδι

Αέρας

Αέρας

Αρχική κατάσταση:

NC

NC/NO

NO/NC

NO/NC

Τύπος ενεργοποίησης

Αμεση ενέργεια

Αμεση ενέργεια

Αμεση ενέργεια

Αμεση ενέργεια

Μέγεθος θύρας

M5;G1/8

G1/8; G1/4

G1/8; G1/4

G1/4

Θέση & Τρόπος

3 Θύρα 2 Θέση

2 Θύρα 2 Θέση

3 Θύρα 2 Θέση

3 Θύρα 2 Θέση

Λάδωμα

Δεν απαιτείται

Δεν απαιτείται

Δεν απαιτείται

Δεν απαιτείται

Πίεση Εργασίας

0–0,7 MPa

0–0,7 MPa

0–0,8 MPa

0–0,8 MPa

Πίεση απόδειξης

1,2 MPa

1,5 MPa

1,2 MPa

1,2 MPa

Μέγεθος στομίου

φ1,2 χλστ

φ2,5 mm

Φ3,2 mm/φ3,4 mm

Φ11 mm (μεγάλη ροή αέρα)


Συχνές ερωτήσεις:

Ε: Ποια είναι η κύρια διαφορά μεταξύ της ηλεκτρομαγνητικής βαλβίδας 3V2 και 3V3;

Α: 3V2: μεσαία ροή, στολή για μικρό πνευματικό σύστημα ελέγχου

Αυτή η ηλεκτρομαγνητική βαλβίδα υψηλής ροής 3V3 είναι κατάλληλη για μεσαία έως μεγάλα πνευματικά συστήματα, ειδικά για πολλαπλούς κυλίνδρους που συνεργάζονται ή συστήματα που απαιτούν υψηλή ροή αέρα. Οι διαμορφώσεις του κανονικά κλειστού (NC), κανονικά ανοιχτού (NO) και διπλής ηλεκτρομαγνητικής βαλβίδας το καθιστούν ιδανικό για γραμμές αυτοματισμού, μηχανές συσκευασίας, εξοπλισμό εκτύπωσης και μηχανήματα επεξεργασίας τροφίμων. Η γρήγορη και ακριβής απόκρισή του το διακρίνει από μικρές βαλβίδες όπως η 3V2.

Διαφορά δομής: Το 3V3 έχει μεγαλύτερο σώμα και μπορεί να χειριστεί υψηλότερη πίεση και ροή.


Ε: Ποιο είναι το μέγεθος στομίου ηλεκτρομαγνητικής βαλβίδας 3V2;

A: Το μέγεθος στομίου βαλβίδας 3V2-06 είναι 3,2 mm, το μέγεθος στομίου βαλβίδας 3V2-06 είναι 3,4 mm


Ε: Ποια προϊόντα μπορεί να αντικαταστήσει το OLK 3V2;

Α: Η OLK 3V2 μπορεί να αντικαταστήσει τις ηλεκτρομαγνητικές βαλβίδες σειράς AIRTAC 3V2 με την ίδια λειτουργία και παρόμοιες προδιαγραφές.


Hot Tags: Ηλεκτρομαγνητική βαλβίδα 3V2 3 Way, Κίνα, Κατασκευαστής, Προμηθευτής, Εργοστάσιο
Αποστολή Ερώτησης
Πληροφορίες επαφής
  • Διεύθυνση

    Zhengtai Road, Xinguang Βιομηχανική Ζώνη, Liushi, Yueqing, Wenzhou, Zhejiang, Κίνα.

  • ΗΛΕΚΤΡΟΝΙΚΗ ΔΙΕΥΘΥΝΣΗ

    cici@olkptc.com

Καλώς ήρθατε στην ιστοσελίδα μας! Για ερωτήσεις σχετικά με τα προϊόντα ή τον τιμοκατάλογό μας, αφήστε μας το email σας και θα επικοινωνήσουμε εντός 24 ωρών.
ΗΛΕΚΤΡΟΝΙΚΗ ΔΙΕΥΘΥΝΣΗ
cici@olkptc.com
Τηλ
86-0577 57178620
Κινητό
+86-13736765213
Διεύθυνση
Zhengtai Road, Xinguang Βιομηχανική Ζώνη, Liushi, Yueqing, Wenzhou, Zhejiang, Κίνα.
X
Χρησιμοποιούμε cookies για να σας προσφέρουμε καλύτερη εμπειρία περιήγησης, να αναλύσουμε την επισκεψιμότητα του ιστότοπου και να εξατομικεύσουμε το περιεχόμενο. Χρησιμοποιώντας αυτόν τον ιστότοπο, συμφωνείτε με τη χρήση των cookies από εμάς. Πολιτική Απορρήτου
Απορρίπτω Αποδέχομαι